手動粉體蝶閥 | LF
手動粉體蝶閥 產品說明
粉體蝶閥,粉末蝶閥水泥蝶閥由粉體板、NBR密封圈,覆以耐磨高分子材料加工而成,具有重量輕、安裝維護簡便等特點,是一種性價比極高的氣動粉體閥門。有手動、電動、氣動、齒輪馬達帶動等驅動裝置,可互為調換。雙法蘭氣動粉體蝶閥帶有2個相同的法蘭面;而單法蘭氣動粉體蝶閥部配有一個伸出的連接環用以安裝軟套管。緊湊的結構、超輕的重量,使您安裝使用更加方便;工業化的設計加上復合閥板的使用提供了好的密封效果和長的使用壽命。粉體蝶閥可以廣泛使用于粉末、水泥、面粉等粉體介質的使用場合,達到很好的使用效果.
手動粉體蝶閥 材質
| 型號 | BLF | |
|---|---|---|
| 公稱通徑(mm) | DN100-DN400 | |
| 壓力(Mpa) | 0.6-1.6 | |
| 主要零件 | 閥體 | 壓鑄鋁合金 |
| 閥板 | 碳鋼內襯板,覆以耐磨高分子材料 | |
| 密封圈 | 丁晴橡膠(NBR) | |
| 適用介質 | 水泥、泥漿、粉體 | |
| 適用溫度(℃) | -15--100 | |
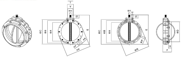
手動粉體蝶閥單法蘭 結構尺寸圖
手動粉體蝶閥 連接尺寸
| 型號 | φA | φB | φC | φD | E | F | G | φH | φH孔徑×數量 | φP外凹槽直徑×數量 | φR | S | T | U | V | Z | KG |
|---|---|---|---|---|---|---|---|---|---|---|---|---|---|---|---|---|---|
| BL1F100 | 95 | 180 | 220 | 105 | 250 | 115 | 35 | 22×19 | 14×4 | 20×4 | 220 | 40 | 80 | M12 | 50 | M10 | 4 |
| BL1F150 | 150 | 200 | 228 | 163 | 290 | 115 | 35 | 22×19 | 14×4 | 20×4 | 228 | 40 | 80 | M12 | 50 | M10 | 5 |
| BL1F200 | 200 | 250 | 278 | 213 | 340 | 115 | 35 | 22×19 | 14×4 | 20×4 | 278 | 40 | 80 | M12 | 50 | M10 | 6.5 |
| BL1F250 | 250 | 300 | 328 | 263 | 390 | 115 | 35 | 22×19 | 14×8 | 20×8 | 328 | 40 | 80 | M12 | 50 | M10 | 7.5 |
| BL1F300 | 300 | 350 | 378 | 313 | 440 | 115 | 35 | 22×19 | 14×8 | 20×16 | 378 | 40 | 80 | M12 | 50 | M10 | 9 |
| BL1F350 | 350 | 400 | 440 | 363 | 530 | 123 | 50 | 28×25 | 14×8 | 20×8 | 440 | 40 | 80 | M12 | 50 | M10 | 16 |
| BL1F400 | 400 | 470 | 530 | 413 | 580 | 123 | 50 | 28×25 | 14×8 | 20×16 | 530 | 40 | 80 | M12 | 50 | M10 | 20.5 |
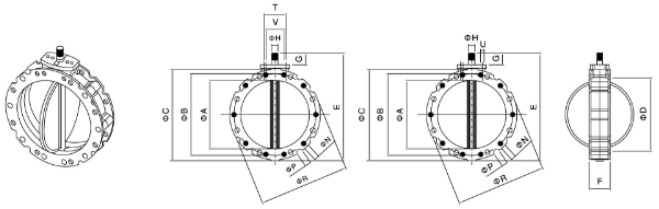
手動粉體蝶閥雙法蘭 結構尺寸圖
手動粉體蝶閥 連接尺寸
| 型號 | φA | φB | φC | φD | E | F | G | φH | φH孔徑×數量 | φP外凹槽直徑×數量 | φR | S | T | U | V | Z | KG |
|---|---|---|---|---|---|---|---|---|---|---|---|---|---|---|---|---|---|
| BL2F100 | 95 | 180 | 220 | - | 250 | 77 | 35 | 22×19 | 14×4 | 20×4 | 220 | - | 80 | M12 | 50 | M10 | 4 |
| BL1F150 | 150 | 200 | 228 | - | 290 | 77 | 35 | 22×19 | 14×4 | 20×4 | 228 | - | 80 | M12 | 50 | M10 | 5 |
| BL2F200 | 200 | 250 | 278 | - | 340 | 77 | 35 | 22×19 | 14×4 | 20×4 | 278 | - | 80 | M12 | 50 | M10 | 6.5 |
| BL2F250 | 250 | 300 | 328 | - | 390 | 115 | 35 | 22×19 | 14×8 | 20×8 | 328 | - | 80 | M12 | 50 | M10 | 7.5 |
| BL1F300 | 300 | 350 | 378 | - | 440 | 115 | 77 | 22×19 | 14×8 | 20×16 | 378 | - | 80 | M12 | 50 | M10 | 9 |
| BL2F350 | 350 | 400 | 440 | - | 530 | 85 | 50 | 28×25 | 14×8 | 20×8 | 440 | - | 80 | M12 | - | - | 16 |
| BL2F400 | 400 | 470 | 530 | - | 580 | 85 | 50 | 28×25 | 14×8 | 20×16 | 530 | - | 80 | M12 | - | - | 20.5 |
手動粉體蝶閥圖片
